اپل در جدیدترین پتنت ثبت شده خود، جزئیات فنی یک حلقه هوشمند را تشریح کرده است که میتواند به عنوان یک دستگاه ورودی برای آیفون و سایر دستگاهها عمل کند.
به گزارش تکناک، شرکت اپل پس از نزدیک به دو دهه تحقیق، همچنان روی ایده ساخت یک حلقه هوشمند با نام Apple Ring کار میکند. اسناد ثبت اختراع تازه منتشرشده حاکی از آن است که این حلقه میتواند علاوه بر ایفای نقش بهعنوان میکروفون و کنترل حجم صدا برای آیفون، قابلیتهای متنوع دیگری نیز داشته باشد.
بر اساس جزئیات منتشرشده، Apple Ring میتواند با استفاده از واحدهای حسگر و حرکتی، ژستهای کاربر را شناسایی کرده و امکان کنترل تجهیزات مختلف را فراهم کند. برای نمونه، تنها با اشاره انگشت میتوان در را باز کرد. همچنین، وجود میکروفون داخلی در این حلقه میتواند فرمانهای صوتی کاربر را تشخیص دهد و در تعامل با Siri به کار گرفته شود.
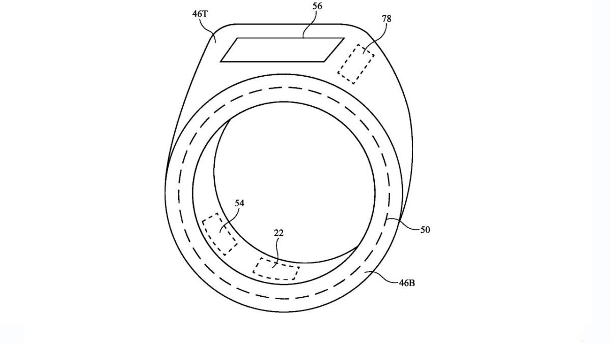
این اختراع جدید نشان میدهد که اپل به دنبال طراحی حلقهای با دو بخش است: «نوار داخلی ثابت» و «نوار بیرونی چرخان». این طراحی به کاربر اجازه میدهد بدون جابهجایی حلقه روی انگشت، از طریق چرخاندن بخش بیرونی ورودیهای مختلفی ایجاد کند.

به نقل از اپلاینسایدر، کاربردهای احتمالی این فناوری گسترده است؛ از کنترل دستگاههای پوشیدنی مانند Apple Watch و ابزارهای پایش سلامت گرفته تا استفاده بهعنوان ورودی برای تلفنهای هوشمند و حتی مدیریت وسایل خانگی نظیر روشن کردن چراغ یا تغییر کانال تلویزیون. افزون بر این، حلقه میتواند اعلانهای دریافتی از آیفون یا Apple Watch را از طریق لرزش به کاربر منتقل کند.
با وجود این قابلیتها، کارشناسان یادآور میشوند که اپل تاکنون محصولی تحت عنوان Apple Ring به بازار عرضه نکرده است. به گفته تحلیلگران، ثبت اختراعها لزوماً به معنای عرضه قریبالوقوع محصول نیست و تنها نشاندهنده جهتگیریهای تحقیقاتی شرکت است.

نکته جالب توجه آن است که دو ثبت اختراع اخیر هیچ مخترع مشترکی ندارند. یکی از آنها به نام Michael Beyhs ثبت شده است؛ فردی که پیشتر در طراحی حلقه و Digital Crown ساعتهای اپل نقش داشته است.
اگرچه هنوز زمان عرضه احتمالی این محصول مشخص نیست، اما به نظر میرسد Apple Ring در صورت تحقق، میتواند حلقهای ارتباطی، کوچک و کاربردی باشد که بهطور کامل در اکوسیستم اپل جای میگیرد.