اسناد جدید جزئیاتی از پتنت دستگاه سه بار تاشو آینده سامسونگ، گلکسی Z Trifold را فاش میکند که ابتدا در بازارهای کرهجنوبی و چین عرضه خواهد شد.
به گزارش تکناک، درحالیکه کاربران بهتازگی با گلکسی زد فولد ۷ و طراحی باریک آن آشنا شدهاند، اسناد رسمی جدید نشان میدهد که سامسونگ برنامههای بسیار بزرگتری در سر دارد. پتنت دقیق و پرجزئیاتی که در اواخر سپتامبر در کرهجنوبی منتشر شد، طراحی فنی دستگاهی با اسم رمز گلکسی Z Trifold را فاش کرده است.
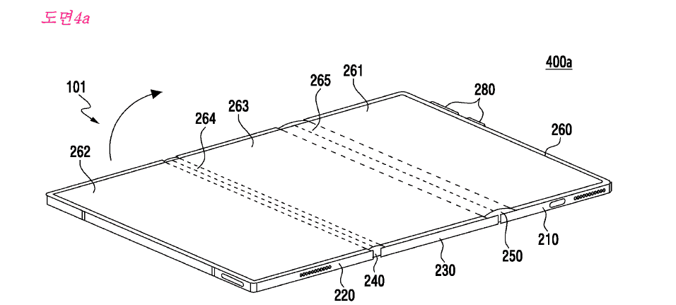
برجستهترین بخش این پتنت رویکرد نوآورانه سامسونگ به منبع تغذیه دستگاه است. برخلاف مدلهای قبلی که از دو باتری استفاده میکردند، این پتنت نشان میدهد که دستگاه سه بار تاشو جدید سامسونگ سه باتری مجزا (با کدهای ۳۶۱ و ۳۶۲ و ۳۶۳) خواهد داشت که هرکدام در یکی از سه بخش بدنه جای گرفتهاند. این باتریها نهتنها ازنظر ابعاد، بلکه ازنظر ضخامت نیز با یکدیگر متفاوت هستند تا از فضای داخلی بهینهترین استفاده ممکن صورت گیرد.
گلکسیکلاب مینویسد که اگرچه ظرفیت دقیق باتریها در پتنت گلکسی Z Trifold ذکر نشده است، با مقایسه ساده میتوان به نتیجهای هیجانانگیز رسید. درحالیکه گلکسی زد فولد ۷ با دو باتری به ظرفیت ۴,۴۰۰ میلیآمپرساعت دست مییابد، به نظر میرسد مدل زد ترایفولد با سه باتری به راحتی از مرز ۵,۰۰۰ میلیآمپرساعت عبور خواهد کرد. این موضوع با شایعات قبلی همخوانی دارد که به ظرفیتی نزدیک به ۵,۶۰۰ میلیآمپرساعت اشاره میکردند.






این پتنت که یک سال پیش ثبت شده، فراتر از طرح مفهومی ساده است و دستگاهی کاملاً مهندسیشده را به تصویر میکشد. در تصاویر جزئیاتی مانند دو لولای متفاوت (یکی پهن و دیگری باریک) برای تاشدن منظم دستگاه و جزیره دوربین مطابق با طراحیهای اخیر سری زد فولد بهوضوح دیده میشود. این سطح از جزئیات نشان میدهد که سامسونگ بهطور جدی درحال تولید و ثبت ساختار محصولی واقعی است.
تأیید دیگری بر این مدعا، ثبت رسمی نام تجاری «گلکسی Z Trifold» در کرهجنوبی در ماه جولای است. اگرچه ثبت نام تجاری لزوماً بهمعنای استفاده نهایی از آن نیست و ممکن است سامسونگ نام جذابتری برای بازاریابی انتخاب کند، این اقدام در کنار وجود دستگاه واقعی با شماره مدل SM-F968N، نشاندهنده عرضه قریبالوقوع آن است.
براساس پیشبینیها، سامسونگ احتمالاً گلکسی Z Trifold را در اواخر پاییز امسال بهصورت رسمی معرفی خواهد کرد. بااینحال، به نظر میرسد عرضه اولیه فقط به بازارهای کرهجنوبی و چین محدود خواهد بود و تولید نسخههای جهانی هنوز در مراحل ابتدایی قرار دارد.

















