مایکروسافت با ثبت اختراع Kickstand برای گوشی تاشو، طراحی سرفیس پرو را به دنیای موبایل میآورد و تجربهای شبیه به لپتاپ را نوید میدهد.
به گزارش تکناک، مایکروسافت اخیراً حق اختراع جدیدی را در اداره ثبت اختراعات و علائم تجاری آمریکا (USPTO) ثبت کرده که توجه بسیاری را به خود جلب کرده است. این پتنت که در ۲۳ آوریل ۲۰۲۵ با عنوان «KICKSTAND FOR OPENING FOLDABLE COMPUTING DEVICE» ثبت شده، گوشی تاشو مجهز به پایه نگهدارنده شبیه به سری سرفیس پرو را معرفی میکند. این موضوع میتواند آینده گوشیهای هوشمند را تحتتأثیر قرار دهد.

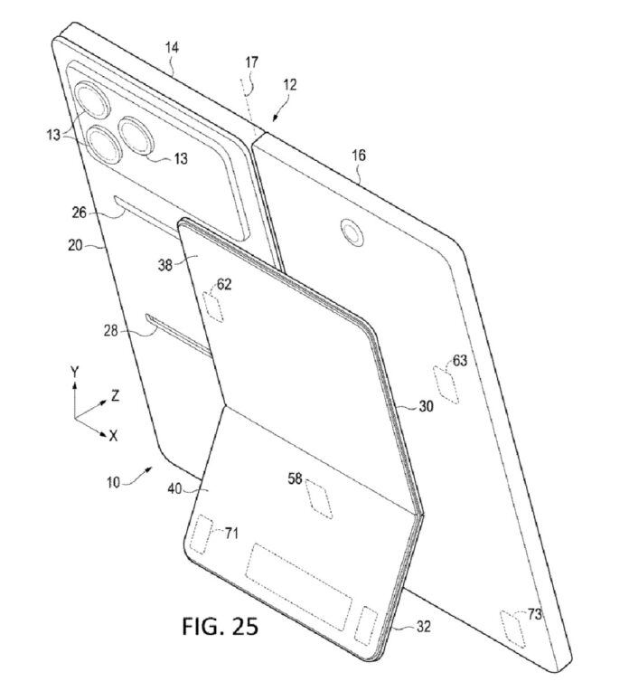
ویندوزلیتست مینویسد که براساس اطلاعات موجود، طراحی جدید مایکروسافت شامل دو قاب یا دو صفحهنمایش است که با لولا به یکدیگر متصل میشوند. قاب دوم جایگاه پایه نگهدارنده خواهد بود؛ همان ویژگی شناختهشدهای که سالهاست در سری سرفیس پرو وجود دارد و امکان استفاده از دستگاه بهعنوان لپتاپ یا کامپیوتر دسکتاپ را فراهم میسازد.

مایکروسافت قصد دارد همین قابلیت را به گوشیهای تاشو بیاورد. این پایه میتواند دستگاه را روی میز ثابت نگه دارد و به کاربر اجازه دهد تا با اتصال ماوس یا کیبورد تجربهای شبیه به کامپیوتر شخصی داشته باشد. بهعلاوه، فناوری لولای هوشمند و آهنرباهای داخلی و حتی ابزارهای کمکی مانند قفل موتوردار یا فنر مکانیکی، امکان بازکردن گوشی فقط با یک دست را فراهم میکند.

براساس جزئیات فنی ثبتشده، پایه از دو صفحه تشکیل شده است: صفحه بالایی که با فشار انگشت شست فعال میشود و صفحه پایینی که نقش «پایه» را ایفا میکند. استفاده از آهنرباها باعث میشود تا پایه بهطور روان از حالت بسته به حالت باز تغییر وضعیت دهد و با قرارگرفتن در مرکز، از جرم دستگاه برای ایجاد پایداری بهره بگیرد. این فناوری در عمل موجب میشود تا گوشی حتی روی میز نیز حالت ایستاده و پایدار داشته باشد.
مایکروسافت در این پتنت تأکید کرده است که گوشیهای تاشو مانند گلکسی زد فولد و گلکسی زد فلیپ یا حتی سرفیس دوئو طراحی منحصربهفردی دارند؛ اما اغلب نتوانستهاند نیازهای واقعی کاربران را برآورده کنند. برای نمونه، کاربران معمولاً میخواهند گوشی در زاویهای خاص ثابت شود تا بتوانند کتاب بخوانند یا فیلم تماشا کنند. مایکروسافت معتقد است پایه نازک طراحیشده در این اختراع میتواند این مشکل را بهطور کامل حل کند.

این شرکت در توضیحات خود آورده است:
مجموعههای Kickstand معرفیشده به کاربر امکان میدهند تا دستگاه را بهراحتی از حالت بسته باز و پایه را همزمان فعال کند. همچنین، آهنرباها میتوانند قابها را در حالت باز موقتاً ثابت نگه دارند و پایداری لازم را ایجاد کنند.
این اختراع، اگر روزی به مرحله تولید برسد، میتواند سختافزاری قدرتمند و تحولآفرین برای مایکروسافت باشد.