ترکیب هوش مصنوعی و سختافزار پیشرفته، ایرپادهای مجهز به حسگر EEG اپل را به ابزاری برای تحلیل فعالیت مغز تبدیل میکند.
به گزارش سرویس اسپیکر و هدفون تکناک، محققان اپل در پژوهشی پیشگامانه، از روش هوش مصنوعی جدیدی پردهبرداری کردهاند که میتواند ساختار فعالیت الکتریکی مغز (نوار مغزی یا EEG) را مستقیماً از دادههای خام و بدون برچسب بیاموزد. این دستاورد که پارس (PARS) نام گرفته، نهتنها جهش بزرگی در تحلیل دادههای عصبی است؛ بلکه به این گمانهزنی دامن میزند که نسلهای آینده ایرپاد ممکن است به حسگرهای پیشرفته پایش مغز مجهز شوند.

تا امروز، مدلهای هوش مصنوعی برای تحلیل سیگنالهای مغزی به دادههای برچسبگذاریشده متخصصان انسانی بسیار وابسته بودند. این فرایند پرهزینه و زمانبر شامل مشخصکردن دقیق مراحل مختلف خواب (بیداری، REM و غیره) یا لحظه شروع و پایان تشنج در هزاران ساعت داده نوار مغزی است. پژوهش جدید اپل با معرفی روش «جابهجایی نسبی زوجی» (Pairwise Relative Arrangement Supervision – PARS) این مانع را از میان برمیدارد.
به زبان ساده، محققان مدلی را طراحی کردهاند که بهجای نیاز به برچسبهای انسانی، به خود میآموزد که رابطه زمانی بین بخشهای مختلف سیگنال مغزی را پیشبینی کند. این مدل با تحلیل دو قطعه تصادفی از دادههای نوار مغزی، یاد میگیرد که فاصله زمانی بین آنها چقدر بوده است. این فرایند که «یادگیری خودنظارتی» نام دارد، به هوش مصنوعی اجازه میدهد تا ساختار بلندمدت و الگوهای ذاتی سیگنالهای عصبی را درک کند.

نتایج این پژوهش بسیار امیدوارکننده بوده است. مدل آموزشدیده با روش PARS در وظایف مهمی مانند مرحلهبندی خواب و تشخیص تشنج، عملکردی برابر یا بهتر از روشهای سنتی که به دادههای برچسبدار متکی هستند، از خود نشان داد. نکته مهمی که این تحقیق را به محصولات آینده اپل پیوند میدهد، نوع دادههای استفادهشده است. یکی از چهار مجموعه دادهای که مدل PARS با آن سنجیده شد، «نوار مغزی گوشی» (ear-EEG) بود که سیگنالهای مغزی را ازطریق الکترودهای قرارگرفته در داخل یا اطراف گوش ثبت میکند.

این دقیقاً همان فناوریای است که اپل در سالهای اخیر روی آن سرمایهگذاری کرده است. درحالیکه پژوهش جدید مستقیماً نامی از ایرپاد نمیبرد، شواهد دیگر این ارتباط را تقویت میکنند:
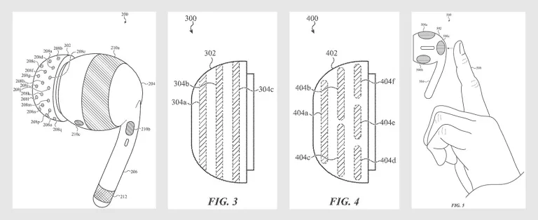
- پتنت ثبتشده در سال ۲۰۲۳: اپل سال گذشته پتنتی را برای «دستگاه الکترونیکی پوشیدنی برای اندازهگیری سیگنالهای زیستی کاربر» ثبت کرد که صراحتاً به دستگاههای ear-EEG بهعنوان جایگزینی برای سیستمهای دستوپاگیر روی سر اشاره میکند.
- راهحل هوشمندانه برای مشکلی بزرگ: این پتنت توضیح میدهد که چگونه میتوان بر مشکل تفاوت در اندازه و شکل گوش افراد غلبه کرد. راهحل اپل قراردادن چندین حسگر در ایرپاد و استفاده از یک مدل هوش مصنوعی برای انتخاب خودکار الکترودهایی است که بهترین کیفیت سیگنال را دریافت میکنند.
- همسویی کاربردها: پتنت اپل ذکر میکند که این دادههای زیستی میتوانند برای «پایش خواب یا سایر ناهنجاریها، مانند تشنج» استفاده شوند؛ کاربردهایی که دقیقاً همانهایی هستند که در پژوهش جدید با مدل PARS آزمایش شدهاند.

به نقل از 9to5mac، اگرچه اپل هنوز بهطور رسمی هیچ محصولی را با این قابلیت معرفی نکرده است، کنارهم قراردادن این قطعات پازل (یک مدل هوش مصنوعی پیشرفته برای تحلیل دادههای ear-EEG و پتنت سختافزاری برای جمعآوری همان دادهها ازطریق دستگاهی شبیه به ایرپاد) تصویری واضح از نقشه راه آینده این شرکت ترسیم میکند.
این پژوهش نشان میدهد که اپل نهتنها به سختافزار، بلکه به نرمافزار هوشمندی نیز فکر کرده است که این دادهها را به اطلاعات کاربردی و حیاتی برای سلامت کاربران تبدیل میکند. باید منتظر ماند و دید که نسل بعدی گجتهای پوشیدنی اپل پنجرهای جدید بهسوی درک عملکرد مغز ما خواهند گشود یا خیر.

















